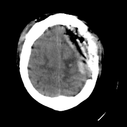
Meningioma: Roentgen-ray CT #1 -- Slice #18
[Home][Help][Clinical] Slice 18
Click on sagittal image to select slice. Click on thin tickmark to change timepoint, or thick tickmark for overlay.
Keith A. Johnson (keith@bwh.harvard.edu), J. Alex Becker (jabecker@mit.edu)